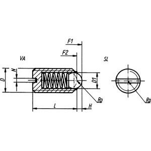
09 - MARTELLERIA - SPINE, MOLLE - ARTICOLI PER PERCUSSIONE - ELEMENTI DI SERRAGGIO » Spine elastiche - Molle a tazza - Pressori a molla filettati - Tasselli di fissaggio - Magneti - Elementi di fissggio » PRESSORI A MOLLA FILETTATI » 2812E 2812E PRESSORI A MOLLA FILETTATI « Prodotto PRECEDENTE | Prodotto SUCCESSIVO » spring plungers with thread https://sicu.info/it-IT/2812E | Vai ai prodotti di pag. 690 » Prod. SCU Tipo con sfera, intaglio a giravite e spinta maggiorata. In acciaio temprato, classe di resistenza 5,8, bruniti. Sfera temprata. Che cosa vuoi fare? Invia la scheda via e-mail » Stampa la scheda » Stampa la scheda SENZA PREZZI » Apri la pagina del catalogo » Invia una richiesta » Salva foto in alta risoluzione » FILE ALLEGATI relativi al prodotto Ricambi e accessori » NEWS relative al prodotto» Cod. Art.Cad.Qta minGiacenzaFilett. Ø DM.Forza min F1N Forza max F2NØ sfera D1mmLungh. pressore LmmSporgenza sfera HmmLargh. intaglio NmmPeso c.cagrammiCod. Prod.Peso ArtNote (*)2812E 5€ 1,480318519Più dettagli303120,90,80,9 0,001 (*)2812E 6€ 1,680733628Più dettagli403,514111,5 0,002 (*)2812E 8€ 2,120235847Più dettagli735161,51,23,5 0,004 (*)2812E 10€ 2,7205081066Più dettagli10061921,67 0,007 (*)2812E 12€ 4,9402631266Più dettagli1208222,5210 0,01 (*)2812E 16€ 5,8801631690Più dettagli18010243,52,524 0,024 (*)2812E 20€ 8,5002020115Più dettagli24012304,52,544,3 0,044