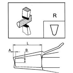
» » » 4424T DIAL CALIPER GAUGE FOR EXTERNAL MEASUREMENTS « PREVIOUS page | NEXT item » dial caliper gauge for outside measurements https://sicu.info/en-US/4424T | Go to products page no. 1013 » Orig. MIB Dial gauge for quick measuring of internal holes, slots, etc. Precision ±0,02 of mm, reading 1/100 of mm. Size 0-10mm with rounded points R 0.5.Size 0-20/10-30/20-40/30-50mm with rounded points R 0.75.Holding case. What do you want to do? Send product card » Print product card » Print product card WITHOUT PRICES » View PDF catalogue » Send a request » Save high-res image » ATTACHED FILES related to the product Spare parts and accessories » NEWS related to the product» Cod. Art.Cad.Min. qtyMeasuring capacitymmSize L depthmmTip size Amm Tip size BmmCod. Prod.WeightNote (*)4424T 0 10€ 307,0000-10403Più dettagli8010271110.7 (*)4424T 0 20€ 380,0000-20806,5Più dettagli25010271120.78 (*)4424T 10 30€ 380,00010-30806,5Più dettagli25010271130.86 (*)4424T 20 40€ 380,00020-40806,5Più dettagli25010271140.81 (*)4424T 30 50€ 380,00030-50806,5Più dettagli25010271150.81